ŠÍŘKA
40 mm
DÉLKA
70 - 110 mm
CENA
od 17,42 Kč
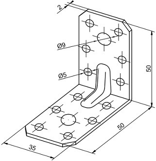
Konstrukční úhelník s otvory vyrobený z ocelového pozinkovaného plechu o síle 2 mm.
V rozměru uvádíme, zda se jedná o verzi s vlisem či bez (viz obrázek produktu).

Aplikace
Úhelník se používá pro spojování prvků dřevěných konstrukcí při menším zatížení, jako spojovací materiál slouží konvexní hřebíky či vruty o průměru 4 mm nebo svorníky a matice průměru 8 mm.

info@sroubyonline.cz
Pondělí - Pátek 7.00 - 15.30

Doprava ZDARMA
Při nákupu nad 4000 Kč

Od 1 kusu
Možnost nákupu od 1 kusu

Skladová zásoba
Přes 40 000 položek skladem