DÉLKA
165 mm
CENA
od 297,28 Kč
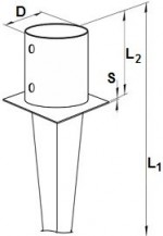
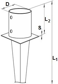
Kruhové kotvící hroty vyrobené z pozinkovaného ocelového plechu pro ukotvení tlačených kulatých sloupků do hliněných podkladů.
V rozměru uvádíme vnitřní průměr botky (D) x celkovou délku hrotu (L1). Všechny tyto kotvící hroty mají výšku botky (L2) 150 mm a sílu materiálu (S) 2 mm. Pro připevnění sloupků jsou připraveny čtyři otvory o průměru 11 mm.


info@sroubyonline.cz
Pondělí - Pátek 7.00 - 15.30

Doprava ZDARMA
Při nákupu nad 4000 Kč

Od 1 kusu
Možnost nákupu od 1 kusu

Skladová zásoba
Přes 50 000 položek skladem