PRŮMĚR
6 - 36 mm
CENA
od 3,64 Kč
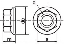
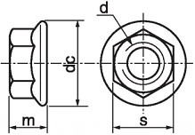
V naší nabídce jsou dva typy límcových matic. Matice s ozubením ( kód ....Z-N) a bez ozubení (kód ....-N) .


Rozměry
| Průměr (d) | Rozměr klíče (s) | Průměr límce (dc) | Výška (m) |
| M3 | 5,5 mm | 8 mm | 4 mm |
| M4 | 7 mm | 10 mm | 4,5 mm |
| M5 | 8 mm | 11,8 mm | 5 mm |
| M6 | 10 mm | 14,2 mm | 6 mm |
| M8 | 13 mm | 17,9 mm | 8 mm |
| M10 | 15 mm | 21,8 mm | 10 mm |
| M12 | 18 mm | 26 mm | 12 mm |
| M14 | 21 mm | 29,9 mm | 14 mm |
| M16 | 24 mm | 34,5 mm | 16 mm |
| M20 | 30 mm | 42,8 mm | 20 mm |
info@sroubyonline.cz
Pondělí - Pátek 7.00 - 15.30

Doprava ZDARMA
Při nákupu nad 4000 Kč

Od 1 kusu
Možnost nákupu od 1 kusu

Skladová zásoba
Přes 50 000 položek skladem