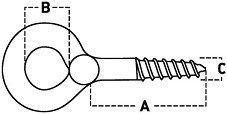
PRŮMĚR
5 - 8 mm
DÉLKA
50 - 150 mm
CENA
od 3,68 Kč
info@sroubyonline.cz
Pondělí - Pátek 7.00 - 15.30

Doprava ZDARMA
Při nákupu nad 4000 Kč

Od 1 kusu
Možnost nákupu od 1 kusu

Skladová zásoba
Přes 50 000 položek skladem